消防管道支(吊)架如何制作安装?一文读懂!
管道安装在消防安装工程中占较大的比重,而管道支架的制安在管道安装中扮演着主要的角色,它直接关系到管道的承重及观感。支(吊)架的型式、材质、加工尺寸和制造质量等应符合国家现行有关标准的规定,并按设计要求安装牢固,位置正确。
本工程给排水专业图纸设计说明中要求支(吊)架的安装具体做法:参见《室内管道支挂及吊架》国标图集03S402。由于本场馆情况复杂,本案例依据现场安装情况制定支(吊)架的安装方案,进行质量控制。
支(吊)架的安装应按下列规定进行控制:
1、立管支架(管卡) :当楼层高度不大于5m时,每层必须安装1个;当楼层高大于5m时,每层不少于2个。当立管上无支管接出时,支架(管卡)安装高度宜距地面1 .20-1.60m。
2、横管吊架(托架):每一直线管段必须设置1个;直线管段上2个吊架(托架)间的距离不得大于表内的规定。

横管吊架(托架)应设置在接头两侧和三通、四通、弯头、异径管等管件上下游连接接头的两侧。吊架(托架)与接头的净间距不宜小于150mm和大于300mm
在管道系统中,应在下列位置固定支架(吊架) :
1、进水立管的底部;
2、立管接出支管的三通、四通、弯头的部位;
3、立管因自由长度较长而需要支承立管重量的部位;
4、横管接出支管与支管接头、三通、四通、弯头等管件连接的部位 ;
5、在刚性卡箍接头500mm内管道上补加支吊架。
1、龙门式


2、座地式


3、挂墙(柱)式支架(宜固定在混凝土墙体上)
Ⅰ型:L型支架(立柱长度与横担长度之比1:1)


Ⅱ型:三角型支架

1、吊式龙门支架


2、水平龙门支架:


最大支承管道数量如管径减少一级,支承管径数量可增加一条。
1、吊式龙头支架


2、座地龙门支架(适用于露台及室外露天管道)


3、水平龙门支架


1、吊式龙门支架


2、座地龙门支架

3、水平龙门支架(立管支架)




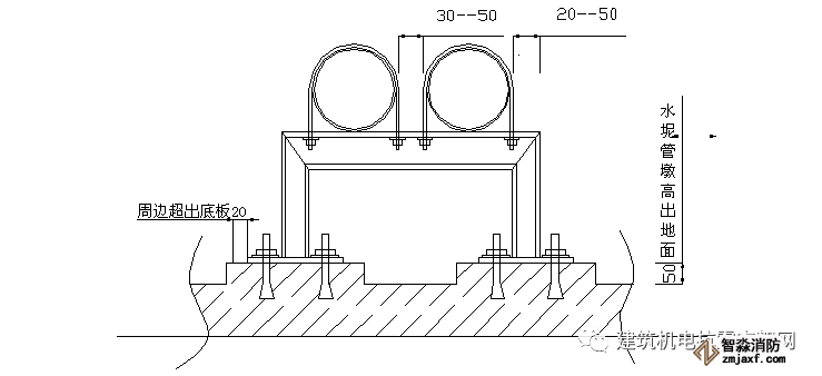
1、平支架安装高度:4米楼层以下支架离地面1.5~1.8m,以1.65米为宜。如起过4米楼层,则按比例均布。
2、道卡码螺栓处露以2~5个螺距为宜,并应安装平介子,紧固螺母。
3、架必须先油漆后安装,按规定应二遍防锈漆,外加二遍面漆。
4、架所有孔必须采用钻孔,不得使用气割开孔。
5、胀螺栓的深度应充分考虑到批荡层的厚度。
6、提倡使用共用支架。对大面积使用的一些支架宜先做样板,以点带面(特别是本文无提及的做法)。
为规范管道卡码螺栓外露的标准,特制作卡码尺寸标准图。


网架部分由于情况特殊,依据现场安装。


钢结构网架下安装消防管道、防排烟管道需支吊架,基于钢结构网架不能焊接我公司结合现场情况拟用扁钢抱箍套在网架的方管和圆管上,被吊装的消防管按图集03S402第27页不保温管卡参数制作安装,防排烟风管采用双吊杆吊架安装。
江苏苏州突尼斯vs阿联酋波胆分析安装工程公司主营:北京消防施工安装,2022世界杯小组赛程表时间设计,消防维修改造,消防设备检测,消防验收代办,消防维修保养,探测器清洗,消防检测设备,智慧消防物联网,消防设备销售安装及调试为一体的正规化消防企业。消防改造网址://www.furanoplace.com/;服务热线:4006-598-119








苏公网安备32058102002151号